,欢迎访问养老机构安全监督平台     

新型电力系统开关柜

时间:2024-08-08  打印

用于在电功率分配系统中使用的开关设备单元包括断路器隔间,其包含断路器和联接至断路器的电动机构操作组件。电动机构可操作成使断路器在断路器隔间内在第一位置和第二位置之间移动。开关设备单元还包括可操作成选择性地电隔离断路器的开关装置以及马达组件。马达组件包括马达、以及联接在马达和链条组件之间的齿条传动装置。马达组件还包括联接在马达和开关装置之间的开关传动装置,马达可操作成驱动链条传动装置以使用链条组件移动断路器,马达可进一步操作成驱动开关传动装置以使用开关装置选择性地电隔离断路器。

图片

设计特点:

设计自动活门以隔离空气绝缘触点,以及固定触头和接地触头之间。

紧凑型尺寸500mm(宽)*1500mm(深)*2200mm(高)

触头盒绝缘导体上的环形/紧凑型电流传感器/变压器

集成在触头盒中的电压传感器/或局部放电传感器

红外传感器监测触点温度,以减少集群过热,并解决触点对齐/接合问题。

电缆终端和全实心绝缘电缆使用EN50181固体电缆插头连接

断路器集成MTU和开关柜集成HMI,实现智能电网解决方案就绪

模块化功能设计可以实现不同的组合——两层、三层、中控室等。

模块化母线,根据不同电流适用不同的布局。

不同功能手车的通用功能舱,如熔断器-接触器、熔断器-负载开关、负载开关、电力变压器

图片

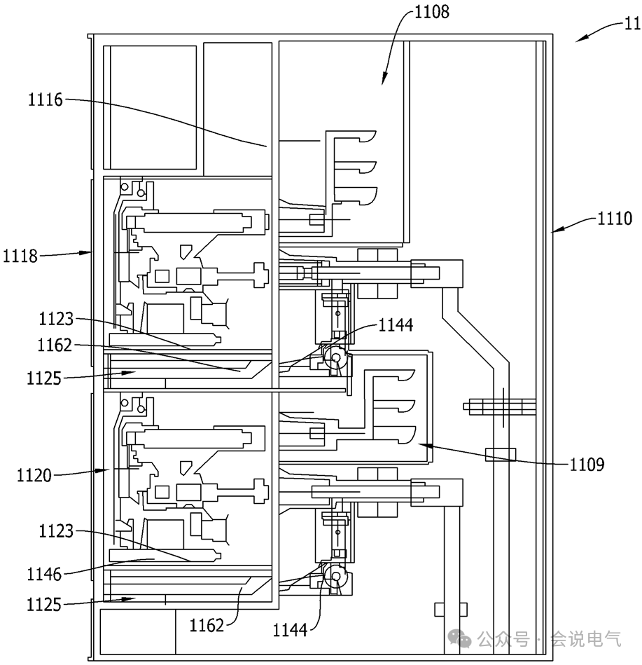
电动操作解决方案包括电机、VCB电动链条机构和接地开关电动传动机构

电机和齿轮安装在VCB基板的中间,左侧连接接地开关驱动机构,右侧连接是VCB摇进机构

VCB摇进链条机构或接地开关驱动机构有电动离合器切换与电机连接

VCB电动链条机构,

将断路器推进到断路器隔室,自动与固定在VCB基板上的方孔相匹配。

链轮与电机齿轮连接,当离合器闭合时,匹配齿轮,此时,如果离合器闭合,电机可以驱动VCB链条螺杆旋转,VCB将通过电机链条进出。

图片

接地开关电动操作机构

齿轮与电机齿轮连接,当离合器闭合时,轴将旋转,螺母将沿着导块向前或向后移动

杠杆固定在接地开关ES主轴上,并用滑动螺母与连杆旋转连接。当电机顺时针旋转时,向前移动的驱动螺母。

当电机逆时针旋转时,螺母(8)将向后移动,并打开接地开关传统空气绝缘开关设备占地面积大。本发明设计紧凑与空气绝缘相比,主电路完全密封,降低了故障风险,不易受环境影响与旧设计相比,集成了绝缘连接的电流传感器/电压传感器,不需要单独组装电流互感器、电压互感器

由于喷嘴中的硅橡胶密封,可能会导致高温上升问题,——增加散热器和吸收器将热量传递到外部。配合红外热传感器监测接触热量,避免对准和接合不良。

电机摇进VCB稳定,密封问题风险低。


文章来源:会说电气